小米最近又要发布新机了,大家最为关注的一款是命名为小米8青春版的手机,对于喜欢大屏手机的朋友来说还是非常关心手机的屏幕尺寸信息的,下面就带大家了解下相关配置信息。

小米8青春版屏幕尺寸多大

小米8青春版采用了一块6.26英寸19:9的2280×1080 LCD显示屏,屏幕尺寸与小米8相近(略大于小米8),比小米8SE更大。

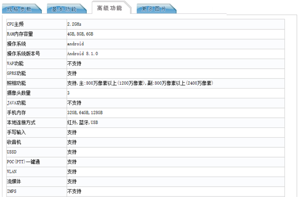
据了解,一款型号为M1808D2TE的小米新机通过工信部入网许可。️根据工信部给出的信息,️该机采用了6.26英寸2280×1080显示屏,屏幕纵横比为19:9,由此看来该机可能是刘海屏,背部疑似采用了玻璃材质,支持背部指纹识别。机身三围尺寸为156.4×75.8×7.5mm,与传统5.5英寸手机差别不大。


核心配置上,该机搭载八核处理器,CPU主频为2.2GHz,看来这款手机搭载的是骁龙710处理器,配备4/6/8GB内存+32/64/128GB存储,前置1200万像素摄像头,电池容量为3250mAh。

此前外媒就曾曝光过一款名为“Mi 8 Youth”的设备,提供太空灰、金色和蓝色三种配色,由此看来刚刚入网的新机有可能是小米8青春版。

据悉,小米8青春版售价可能是1999元,考虑到搭载骁龙710的小米8 SE 6GB+64GB版首发价便是1999元,因此刚刚入网的这款新机有可能会重回1999元标志性价位。