缤特力V8200UC耳机满电状态下,可以持续通话24个小时左右,续航能力还是不错的,这里可以跟着小编了解一下耳机的充电方法,在耳机电量耗尽之后给耳机充电。

缤特力V8200UC耳机充电方法

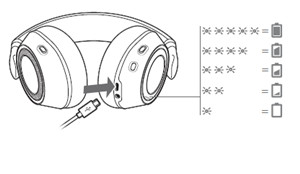
1.缤特力V8200UC耳机采用了 micro USB 接口的充电方式,micro USB 接口在耳机右侧耳罩边缘底部。

2.购买耳机时,会跟随包装盒赠送一根用于充电的 micro USB 充电线。

3.将附赠的 micro USB 充电线连接到缤特力V8200UC耳机充电接口,然后将USB端连接到已启动的电脑或者 USB 电源适配器连接到电源上。

5.耳机充电时,亮起和剩余电量相应数量的指示灯。耳机充电约需 3 小时可以完成,电量充满之后指示灯熄灭。充电完成后,可以断开 micro USB 充电线的连接。

️提示:如果在耳机打开情况下开始充电,则耳机将无法使用。