美国专利商标局今天向苹果公司授予了与“可穿戴电子设备存储盒”相关专利,并将其描述为一种附件,可让用户在旅途中为Apple Watch充电,同时还可提供额外存储空间来存储不同的表带。与便携式电池组或Apple自己的AirPods盒子类似,用户可以自行为Apple Watch 盒子充电,然后在旅行时将Apple Watch放在盒子内充电。

苹果发布在旅行途中给苹果手表充电新专利

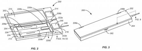
在专利图像中,这个盒子呈长方形,左侧两排可以放置Apple Watch表带,右侧为Apple Watch充电。在这个特别的专利中,用户将不得不移除当前表带来为Apple Watch充电,然后将它们放置在它旁边。根据该专利,将会有一个磁性“附件系统”。

苹果这项专利暗示,苹果可能为Apple Watch推出智能表带,为Apple Watch增加额外传感器或额外电池。