苹果正在为iPhone研发手势操作功能,并且还会推出曲面屏版iPhone来配合新的交互动作。现在看来苹果涉足手势操控的可能性是越来越大了,今天外媒appleworld发文称,苹果计划在未来为Apple Watch增加手势操控功能,同时Apple Watch也有望采用圆形表盘设计。

苹果手表或改用圆形表盘

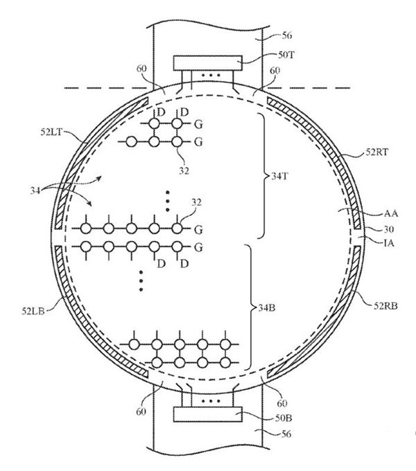
我们先来看看圆形的Apple Watch吧,在苹果最新的“具有弯曲边缘显示器的电子设备”专利中,对传统的矩形显示屏做出了改进。因为在传统的显示屏幕中,像素的排列都是横向和纵向的,通过显示驱动电路来沿垂直、水平方向控制像素变化,所以屏幕本身也是矩形。

苹果手表或改用圆形表盘

但是如果这样的像素排布用在圆形屏幕上,就会出现信号线拥挤的情况,在边缘出现瓶颈区域,导致屏幕利用率底下。所以苹果将垂直方向的信号线进行了折叠,折叠之后的信号线可以“一根多用”,使驱动屏幕的信号分布更加均匀。

值得注意的是,苹果在专利中提到了“边缘弯曲的屏幕”,或许Apple Watch也要做全面屏?而且是曲面的全面屏哦。