4 月 2 日消息,传统手机使用称为 SIM 卡的物理卡连接到蜂窝网络,目前正在推进的 eSIM 数字卡进展并不快,一部分原因是安卓并没有进行很好的支持。根据 Esper 的最新报告,谷歌可能会在 Android 13 中发力 eSIM,推动该技术的普及。

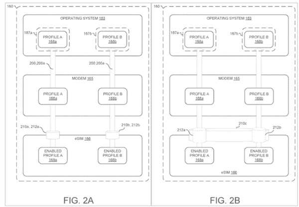
Esper 报告称,Android 13 的代码库包含谷歌在 2026 年提交的一项专利,该专利允许在单个嵌入式芯片上使用多个 SIM 配置文件。

从专利描述来看,其通过将调制解调器和 eSIM 芯片之间的单个物理数据总线拆分为多个逻辑接口来实现,这些逻辑接口在单个物理接口上复用。听起来有点像现代 CPU 将物理 CPU 内核拆分为逻辑 CPU 内核,从而同时执行更多任务。

与需要配备插槽的物理 SIM 卡不同,eSIM 只需要主板上配备一个小组件,这为手机留出了更多空间,可容纳更大的电池、相机硬件或其他组件。然而,目前完全放弃物理 SIM 卡插槽的手机并不多。

谷歌尚未公开提及此功能,但如果它确实保留在 Android 13 的最终版本中,那将是对 eSIM 卡的一次巨大推动。