如果想要选购一台专业相机产品,可能会有很多人在第一时间想到佳能。毕竟当年那句感动常在的广告,实在太过于深入人心。而且目前,在相机市场上,佳能也占据了比较领先的份额和地位,旗下多款产品更是获得了不少消费者的喜爱。例如此前发布的佳能EOS R10、EOS R7等产品,表现就比较不错。而近日,佳能公布了一项有关折叠屏相机的专利。

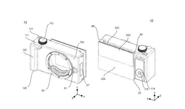
此次佳能公布的折叠屏专利,其美国专利号为20220269152以及20220272266。据悉,该项专利描述了在单反相机上采用可折叠屏背屏的技术可行性。从图片上来看,这款佳能相机的背屏在平时是折叠的状态,使用时则可以伸展开来。目前,相机产品上的屏幕大多都在3英寸左右,而佳能专利中的这款产品,其屏幕远不止如此,这或许也将会带来更好的操控体验。不过,如果推出配备折叠屏的专业相机产品,那么它的价格,可能会来到一个比较高昂的区间。

虽然相关的专利已经公开,但是我们都知道,相关产品不一定会推出。而且从折叠屏的技术难度来看,就算有计划推出,大概率也要很长时间才能问世。