虽然在可折叠手机市场已经占据主导地位,但这并未阻止三星对这种新形态的探索。援引 SamMobile 报道,三星于今年 1 月提交,并于 8 月 25 日获得世界知识产权局批准的最新应用专利中,描述了一款非常有特色的双屏设备。而有趣的是,类似的设计已经在中兴旗下的努比亚手机中使用。

相比之下,三星最近的专利申请描述了一种配备透明显示屏的设备,该显示屏似乎可以完全或部分开启,大概类似于 Always-On-Display。它可以用来展示标志、独特的设计、信息概览等。可以推测这些定制选项可以是非常丰富的。在专利概述中写道

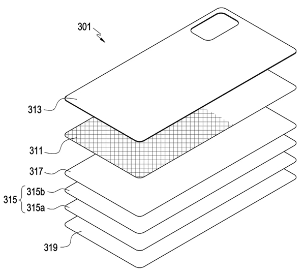
根据本发明公开的各种实施例,一种电子设备包括:外壳,包括第一表面和朝向与第一表面相反的方向的第二表面;第一显示器,设置在第一表面上并沿第一方向输出屏幕;第二显示器,布置在第二表面上并在与第一方向相反的方向的第二方向上输出屏幕,其中第二显示器可以被配置为至少部分透明,以便在视觉上暴露至少一个第二表面的内部区域的一部分。各种其他实施例也是可能的。